
Today, every aircraft that travels faster than 500 mph has a swept-back or delta wing. However, this isn’t the only solution to high-speed flight: the swept forward wing offers several advantages (for the same given wing area), among them a higher lift-to-drag ratio, better agility, higher range at subsonic speed, improved stability at high angles of attack, and a shorter take-off and landing distance. In the early to mid 1980s it seemed inevitable that forward swept wings (FSW) would catch on, but despite some mouthwatering artist’s impressions they never did. Despite advances in materials that made FSW designs viable, the advantages weren’t enough, and despite a few limited production oddbod aircraft, the concept never really spread. Here are ten FSW aircraft that never made it into production.Â
The Hush-Kit blog is hitting funding problems again. Please keep us independent and free from adverts by donating here. Your donations keep this going. Thank you.Â
10. Rockwell Sabre Bat ‘Hyper Sabre’ (1980)

If the world was run by 7-year-old boys (admittedly we’re not far off this right now) the skies would be full of Sabre Bats duelling with MiGs. The name is perfect, Â it looked perfect- but it was not to be. The Sabre Bat was Rockwell’s response to a DARPA brief for a FSW research aircraft, that led to the Grumman X-29. Though Rockwell’s entry offered 10 degrees greater forward wing sweep than the winning X-29, the Sabre Jet did not win the tender. However, Rockwell got quite caught up in the Sabre Bat project and proposed it as the basis for a super agile light fighter.
According to Boeing: “Mike Robinson, the Sabrebat (sic) program manager for Rockwell and now with Phantom Works business development, recalled that the Sabrebat FSW concept was based on the HiMAT (Highly Maneuverable Aircraft Technology) test flight experience (see Page 8 of the May 2007 Boeing Frontiers). “That program amassed a wealth of transonic/supersonic data on HiMAT’s graphite composite variable-camber wing.†Robinson continued, “The FSW demonstrator program proved to be very successful in that we developed a high-tech design team, tools and insights at a time when there were few new designs in work.”

Intriguingly, North American (Rockwell’s predecessor) had experimented with wind tunnel models of P-51 Mustangs with swept forward wings for greater manoeuvrability.
9. Junkers Ju 287 ‘Junk, gifted und bleak’ (1944)

With their thick reptilian skin, beady eyes, grasping claws and thin reedy voices it’s not hard to spot an affectionado of late-war German aircraft, and one of their favourite aeroplanes is the Junkers Ju 287.  The ‘287 was a testbed to explore the technologies required for a new jet bomber. The forward swept wings allowed space for a large single bomb-bay at the aircraft’s centre of gravity – and helped achieve a swifter take-off (early jet aircraft, especially the Me-262, were particularly vulnerable during take-off runs as they required a long distance to reach flight speeds). A version controlled by a piggy-backing fighter aircraft, and released as massive missile was considered but never used. Aeronautical engineer Brunolf Baade, who had worked on the  Ju 88, Ju 188, Ju 388 (and at North American before the War)- was a vital member of the Ju 287 design team.
8. OKB-1 140 ‘OKB cupid’ (1948)

Following a period of capture by US forces, Baade continued work on a variant of the Junkers Ju 287 jet bomber known as the OKB-1 EF 131 for the Soviet Union. The final prototype was adapted for use in the OKB-1 140 programme, an improved variant with changes that included Soviet engines and defensive guns. The OKB-1 150 used advanced materials, but progress was hampered by the official suspicion of German expatriates. This concept grew into a larger and more capable aircraft, but was cancelled in favour of far more ambitious bomber designs in 1952.
7. Sukhoi S-37 ‘Berkut’ ‘Gorbachev’s Cobra’/Yeltsin’s Toboggan’ Â (1997)

The US spent the ’80s and ’90s in a stealth frenzy while the Soviet Union seemed more interested in fast climbing aircraft with extreme agility. As the Su-27 prepared for service entry in the early 1980s, the Soviet Union started considered its next generation of advanced tactical fighters.
Though the operational fighter that could have evolved from the Sukhoi S-37 ‘Berkut’ would have been stealthier than this technology testbed, it’s hard to imagine it being very stealthy, which raises the question of what advantages it would have offered over an advanced ‘Flanker’?  Today’s heavyweight future fighter, the Sukhoi PAK FA, does not feature forward swept wings. The degree to which it was a general testbed rather than the template for an actual fighter remains a hotly debated subject. It was certainly superbly sinister its black paint scheme.

6. North American WS-110A Supersonic Bomber ‘Nemesis the supersonic warlock’ (1955)

In 1955, USAF issued General Operational Requirement No. 38 for a new bomber. The new aircraft should have the payload and intercontinental range of the B-52 combined with the Mach 2 top speed of the Convair B-58 Hustler. This was a time when anything could be improved by adding a fin, some Brylcream or a nuclear reactor so both conventional and atomic powered (or fuelled) aircraft would be considered. The (barely) conventional jet-powered version was assigned the designation Weapon System 110A. North American Aviation’s responded to this extremely demanding brief, clearly after their draughtsmen had got smashed on martinis, with the WS-110A.  The WS-110A featured huge wing tip fuel tanks that could be jettisoned when their fuel was expended, allowing a supersonic dash to the target. The tanks also consisted of the outer portions of the wing, which were swept forward. Properly insane, and possibly wonderful, the WS-110A never happened but it did pave the way for the doomed, and incredibly impressive Mach 3+ North American XB-70 Valkyrie.
Top 11 Cancelled French aircraft here
7. Grumman ‘Concept 9’ ‘Bananarama’ (1982)
After winning the DARPA contract, Grumman flew the X-29 in 1984. Prior to this, Grumman submitted four different concepts for the 1982 USAF Request For Information for an advanced tactical fighter (a project that Lockheed won that culminated in the F-22 Raptor). All featured twin vertical fins (the single finned aircraft illustrated is an earlier study) and vectored thrust. ‘Concept 9’ was a 51,414 lb fighter with a forward swept wing design based on the nascent X-29. It is likely that the real designs were stealthier than the artist’s impressions shown.
6. Rockwell D-645-1Â ‘Rocky’s Revolver’ (1979)

The Rockwell D 645-1 was a 1979 concept for a low-cost subsonic missile carrier. Why are the engines located above the wings? I don’t know. Why has it got such an unusual configuration – again I don’t know. Seems kind of stealthy  (in terms of frontal cross-section) in a squashed pancake kind of way, but then there’s hugely visible open compressor faces and a massive vertical tail -so who knows? I’m going to have to dig out my ‘Warplanes of the future’ (1985), do some homework and then amend this entry. Cruise missiles were to be carried on a rotary launcher, effectively making the aircraft a giant flying revolver.
You’d think that a low-cost subsonic cruise missile carrier would just be a 737 derivative, but I suppose that wouldn’t interest Rockwell.
5. General Dynamics F-16 SFW (Swept Forward Wing) ‘Windscreen Viper’ (1980)

You can do anything with an F-16: stick a delta wing on and you’ve got a long-range attack aircraft (F-16XL), change the landing gear you can make a decent naval fighter (V-1600) – so why not make a FSW demonstrator? In 1976, DARPA (Defense Advanced Research Projects Agency) awarded funds to General Dynamics, Rockwell and Grumman under the Forward-Swept Wing Program. The engineers at General Dynamics, of course, suggested fitting a FSW to their F-16. In 1981 DARPA decided to opt instead for the Grumman X-29 based on the F-5/F-20, a decision many said was due to the F-16s over -representation in upcoming DARPA test programmes. In the end the X-29A featured a load of F-16 components, including an adapted form of its fly-by-wire system.
Ten incredible cancelled military aircraft here
4. Convair XB-53/XA-44 ‘Convair the meerkat’ (1945)

This was an unusual forward-swept wing medium bomber design powered by three J35-GE turbojets, proposed in the 1940s. The wing, with its 30° forward-sweep and 8° dihedral was strongly influenced by wartime German research. Classified as a medium bomber, the XB-53 would have carried up to 12,000 pounds of bombs as well as 40 High Velocity Aerial Rockets (HVAR) mounted on underwing pylons.
3. British Aerospace P.1214  ‘Bond’s X-wing’ (1980)

You can’t put conventional afterburners on a Pegasus engine for several reasons – the hot and cold air is separated, the inlets do not slow the airflow sufficiently for serious supersonic flight, and the jetpipes would be too short- and it would also set fire to everything (it was tried from the 1960s and proved problematic) . This is a shame as a Harrier is desperate for thrust on take-off and could do with the ability to perform a decent high-speed dash. Though conventional afterburners are out of the question, you you could however use plenum chamber burning (PCB). This technology was developed for the Mach 2 Hawker Siddeley P.1154 (think the lovechild of a Harrier and a F-4, with the wingspan of a Messerschmitt Bf 109) – which never entered service.
PCB chucks additional fuel burnt into a turbofan’s cold bypass air only (instead of the combined cold and hot gas flows as in a conventional afterburner). This is great, but how do you incorporate this into swivelling nozzles without destroying the rear fuselage with heat and vibration? BAe thought it found the answer – get ride of the rear fuselage altogether, and mount the tail onto two booms. Worried that this already eccentric idea might seem too conventional, BAe decided to add an ‘X-wing’ configuration with swept forward wings (which were in vogue in the early 1980s). This did produce the coolest fighter concept of the 1980s, even in the -3 variant shown which had conventional tails.
The P.1214 would have been extremely agile (and probably short-ranged). As fashion changes, the P.1214 lost its swept forward wings and became the P.1216 which was intended to satisfy the USMC and RN’s desire for a supersonic jump-jet (a need eventually met by the F-35B). A full-sized wooden P.1216 was built to distract Thatcher from stealing children’s milk, predictably (as it was British) the whole project was scrapped.

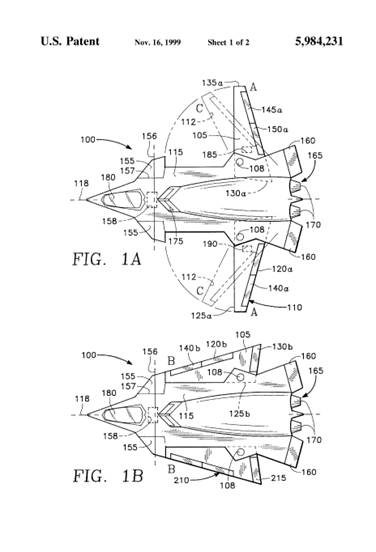
2. Northrop-Grumman ‘Switchblade’ ‘X-files jetski’ (1999)

This 1999 patent is most often viewed online through the skunk weed fug of a Black projects observer’s bedroom in Delaware. No other variable geometry- or swing wing- aircraft came close to having the huge arc of possible wingsweep angles of the ‘Switchblade’. Did the severe raked-back wing-sweep hint at a mach 3+ plus capability? Was the forward sweep for a short take-off, or extreme dogfight agility? Little is known for sure but it looks like stealth was a consideration. Note the unusual placing of the engines – to shield them from ground radars perhaps? The Switchblade remains to this day a mysterious concept.
One thing it did influence was the fictional F/A-37 from the 2005 borefest ‘Stealth’.
Boeing Model 449-3 ‘Antoine de Saint-Exupéry Pootly Pepperpot’ (1944)

The 1940s were for jet fighters what the 1960s were for Rock ‘n ‘Roll — it was a time for wild experimentation, the ingestion of copious quantities of LSD and it ended in Prog Rock. Shortly after World War II had ended, Boeing produced a series of designs for a swept-wing jet fighter under the Model 449 designation. Both swept-forward and -back wings were considered, but it is unlikely that contemporary materials would have been able to deal with the loads and aeroelastic twisting imposed on a FSW design.
________
The Hush-Kit blog is hitting funding problems again. Please keep us independent and free from adverts by donating here. Your donations keep this going. Thank you. Recommended donation £11.Â
.
You may also enjoy A B-52 pilot’s guide to modern fighters, Flying and fighting in the Lightning: a pilot’s guide, Interview with a Super Hornet pilot, Trump’s Air Force Plan, 11 Worst Soviet Aircraft, 10 worst US aircraft, and 10 worst British aircraft. MiG-21s, MC-21s and the overrated Typhoon: In conversation with FlightGlobal’s Stephen Trimble, The F-35 will fail, until the US learns to share, An air force of my own #1, Top 8 Mach 3 fighters
Not forgetting:  11 Cancelled French aircraft or the 10 worst British military aircraft, Su-35 versus Typhoon, 10 Best fighters of World War II , Su-35 versus Typhoon, top WVR and BVR fighters of today, an interview with a Super Hornet pilot and a Pacifist’s Guide to Warplanes. Flying and fighting in the Tornado. Was the Spitfire overrated? Want something more bizarre? Try Sigmund Freud’s Guide to Spyplanes. The Top Ten fictional aircraft is a fascinating read, as is The Strange Story and The Planet Satellite. The Fashion Versus Aircraft Camo is also a real cracker. Those interested in the Cold Way should read A pilot’s guide to flying and fighting in the Lightning. Those feeling less belligerent may enjoy A pilot’s farewell to the Airbus A340. Looking for something more humorous? Have a look at this F-35 satire and ‘Werner Herzog’s Guide to pusher bi-planes or the Ten most boring aircraft. In the mood for something more offensive? Try the NSFW 10 best looking American airplanes, or the same but for Canadians. 10 great aircraft stymied by the US.Â
You may also enjoy top WVR and BVR fighters of today, an interview with a Super Hornet pilot and a Pacifist’s Guide to Warplanes. Want something more bizarre? The Top Ten fictional aircraft is a fascinating read, as is The Strange Story of The Planet Satellite. Fashion Versus Aircraft Camo is also a real cracker.Â
